Запчасти на комбайн John Deere 9650STS (запчасти Джон Дир)

Ремни на комбайн John Deere 9650STS

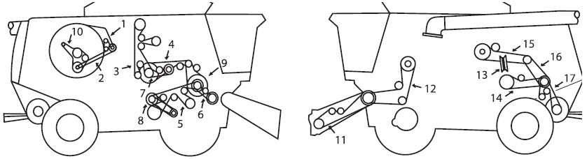
1 . . . H206807 . . . . . ремень на комбайн Джон Дир 9650
2 . . . H157104 . . . . . ремень на комбайн John Deere 9650
3 . . . H158512 . . . . . ремень на комбайн Джон Дир 9650
4 . . . H154723 . . . . . ремень на комбайн John Deere 9650
5 . . . H175587 . . . . . ремень на комбайн Джон Дир 9650
6 . . . H209606 . . . . . ремень на комбайн John Deere 9650
6 . . . H216027 . . . . . ремень на комбайн Джон Дир 9650
7 . . . H154731 . . . . . ремень на комбайн John Deere 9650
8 . . . H165072 . . . . . ремень на комбайн Джон Дир 9650
9 . . . AH150678 . . . . . ремень на комбайн John Deere 9650
10 . . . R135606 . . . . . ремень на комбайн Джон Дир 9650
11 . . . H157732 . . . . . ремень на комбайн John Deere 9650
12 . . . H156541 . . . . . ремень на комбайн Джон Дир 9650
13 . . . H165545 . . . . . ремень на комбайн John Deere 9650
14 . . . H168301 . . . . . ремень на комбайн Джон Дир 9650
15 . . . AH160080 . . . . . ремень на комбайн John Deere 9650
16 . . . H157514 . . . . . ремень на комбайн Джон Дир 9650
17 . . . H204747 . . . . . ремень на комбайн John Deere 9650

Подшипники на комбайн John Deere 9650STS


Корпуса подшипников SKF

корпуса литые SKF
корпус FY SKF
корпус FYK SKF
корпус FYTBK
корпус FYTB
корпус FYC SKF
корпус SY SKF
корпус SYK SKF
корпус SYF SKF
корпус TU SKF

корпуса штампованые SKF
корпус PF SKF
корпус PFD SKF
корпус PFT SKF
корпус P SKF

Корпуса подшипников

корпус UCF

корпус UCFL

корпус UCFC

корпус UCP

корпус UCPH

корпус UCPA

корпус UCT

корпус UCFB

корпус UCFA

корпус UCHA

корпус UCC


подшипник шариковый
подшипник конический
конический дюймовый
подшипник роликовый
подшипник игольчатый

Сферические подшипники SKF

SKF тип YAR




SKF тип YAT




SKF тип YEL




SKF тип YET




SKF тип YSA




SKF тип 1726(000)



SKF тип YHC



Фірми по ...

ППФ "Рембус"
запчасти на тарактора, комбайны John Deere, Case, Case, Massey Ferguson, Fortschritt, подшипники, ремни, звездочки, цепи, фильтра
подбор подшипников, ремней по размерам
тел. (050) 716-28-30, (0532) 69-07-64
г.Лубны, Полтавская обл.
e-mail: vipzapchasti@ukr.net

Нужны Запчасти John Deere
нажми на ссылку ниже



Фирмы занимающиеся продажей
запчастей на John Deere в Украине
Реклама на сторінці 50грн

Ваш Баннер


(050) 716-28-30

Ваш Баннер


(050) 716-28-30

Ваш Баннер


(050) 716-28-30

Ваш Баннер


(050) 716-28-30

Ваш Баннер


(050) 716-28-30

легковые автомобили      грузовые автомобили, автобусы

трактора, комбайни      сельскохозяйственная техника

строительная техника      специализированные фирмы


каталог фирм

фірми по автомобільним мастилам   фірми по фильтрам

фірми по колесам   фірми по підшипниках

фірми по пасах   Ремкомплекты, РТИ

фірми по підвіскам   тормозная система запчасти

фірми по стеклам   фірми по системі охолодження

фірми по автоелектриці   глушители, резонаторы

главная страница