
|
Запчастини на інші на жатку CASE-1030 |
|
|
|
|
|
|
2 пластина 28660051 4 шайба 20400506 5 гайка 41087500 6 болт М8х16 8.8 40404700 7 шайба 20400518 8 шайба 40404700 9 пластина мотовила 28680240 12 шайба 20400403 14 болт М6х15 8.8 40402700 20 кришка захист 28761977 21 ролик мотовила 28660005 22 болт М10х50 8.8 40426000 23 шайба 20400416 24 втулка ролика мотовила 28660143 25 фланець мотовила 28660036 26 пластина ексцентрика мотовила 28680097 27 гайка 41087600 28 болт М8х20 8.8 120104 29 гайка 41087500 30 ричаг 43387500 31 болт М12х25 40070100 32 шайба 20400426 34 палець 28280382 35 шплінт 41408800 36 шайба 20400505 37 втулка 43338200 38 підшипник з корпусом RAE35RRB + PF72 41707800 39 болт 40407800 40 гайка 41010800 41 гідрициліндр видвигання мотовила 45100028 |
42 палець 28280383 43 шплінт 41408800 44 шайба 20400471 45 кронштейн 12'-14-16-18 and 20' 38283301 46 пластина ексентрика 28680120 47 шайба 20400586 48 тримач луча мотовила 28680117 50 болт М8х50 8.8 40423900 52 шайба 20400506 53 гайка 41087500 54 шплінт 41411100 55 пружина мотовила 28680131 56 28680176 луч мотоила на жатку 12' 56 28680171 луч мотоила на жатку 14' 56 28680167 луч мотоила на жатку 16' 56 28680152 луч мотоила на жатку LH 18' 56 28680148 луч мотоила на жатку L, 20' 56 28680140 луч мотоила на жатку L, 22' 57 28680179 труба шнека на жатку 12' 57 28680174 труба шнека на жатку 14' 57 28680166 труба шнека на жатку 16' 57 28680159 труба шнека на жатку 18' 57 28680151 труба шнека на жатку 20' 57 28680138 труба шнека на жатку 22' 59 шток поршень 45100021 60 ремкомплект гідроциліндра 45100080 60 ремкомплект гідроциліндра 45110020 60 ремкомплект гідроциліндра 45110084 61 гофра гідроциліндра мотовила 28281626 62 зажим 45050038 63 зажим 45050037 |
![]() ролик мотовила на жатку CASE-1030 28660005 |
![]() втулка ролик мотовила на жатку CASE-1030 28660143 |
![]() тримач труби мотоила на жатку CASE-1030 28680117 |
Потрібні запчастини ЗВОНІТЬ Артем (097)329-93-25 Валера (050)716-28-30 пишіть у Вайбер або на пошту borblik@ukr.net vipzapchasti@ukr.net |
|
|
|
1 рама права 38283302 1 рама права 38283816 2 гідроциліндр (лівий) 45100066 4 палець 28280236 5 шайба 20400518 6 втулка 28751140 7 шплінт 41408800 8 кронштейн 38283300 9 болт 40410800 10 шайба 20400424 11 масленка 43001500 13 рама ліва 38283301 13 рама ліва 38283817 14 гіроциліндр (правий) 45100067 15 палець 28280236 16 шплінт 41408800 17 шайба 20400518 18 палець гідроциліндра 28280237 19 втулка 28751140 20 шайба 20400520 21 шплінт 41408800 24 захист 38283251 |
25 гайка 41042700 26 накінечник ціліндра мотовила 45100044 27 поршень 45100016 28 поршень 45100017 29 розєм D45252800 30 ремкомплект гідроциліндра (лівого) 45100031 30 ремкомплект гідроциліндра 45110030 30 ремкомплект гідроциліндра 45110089 31 ремкомплект гідроциліндра (правого) 45100032 31 ремкомплект гідроциліндра 45110022 31 ремкомплект гідроциліндра 45110090 32 кронштейн лівий 38680025 33 кронштейн правий 38680024 34 протектор 38281518 35 болт 40402400 36 шайба 20400404 37 супорт 28283835 38 болт 40410900 39 консоль 28685027 40 стойка 28685015 41 пружина 28710853 |
Потрібні запчастини ЗВОНІТЬ Артем (097)329-93-25 Валера (050)716-28-30 пишіть у Вайбер або на пошту borblik@ukr.net vipzapchasti@ukr.net |
|
|
|
|
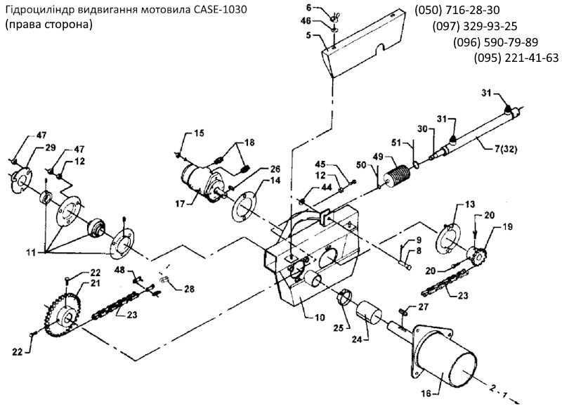
1 кронштейн праий на жатки 12'-14-16-18 and 20' 38283302 1 кронштейн правий на жатки 22' 38283816 2 палець 28280383 3 шплінт 41408800 4 шайба 10.5/20X2 20400471 5 пластина 28280046 6 гайка 41057100 7 гідроцилинтр мотоввила 45100027 8 палець 28280382 9 шлінт 41408800 10 супотр 28680055 11 підшипник з корпусос RAE35RRB + PF72 41707800 12 гайка 41010800 13 28650018 1 PLATE, sealing, 2 14 28650101 1 PLATE, sealing 15 гайка М12 337475 16 28680179 труба мотовила 12' 16 28680174 труба мотовила 14' 16 28680166 труба мотовила 16' 16 28680159 труба мотовила 18' 16 28680151 труба мотовила 20' 16 28680138 труба мотовила 22' 17 гідромотор реверса 45120700 18 фітінг D45250700 19 зірочка реверса 5/8"-13T 28650023 |
20 болт М8х20 8.8 120104 21 зірочка мотовила 28680013 22 болт М8х30 8.8 40405100 23 ланцюг 42325700 24 захист 28680087 25 хомут 45728000 26 шпонка 43103400 27 шпонка 43103500 28 ланка перехідна 42363200 29 захист 28761977 30 45100022 1 ROD, PISTON, Pacoma 31 45250000 2 FITTING, Pacoma 31 D45252800 2 CONNECTION, PPT 32 ремкомплект гідроциліндра 45100070 32 ремкомплект гідроциліндра 45110019 32 ремкомплект гідроциліндра 45110083 44 шайба 20400505 45 болт 40408400 46 шайба 8.5/24.5X3 20400414 47 гайка 41087500 48 ланка зєднуальна 42363100 49 гофра 28281626 50 фіксатор 45050038 51 фіксатор 45050038 |
зірочка шнека жатки CASE-1030 28680013
зірочка шнека жатки CASE-1030 28680013 |
зірочка реверса на жатку CASE-1030 28650023
зірочка реверса на жатку CASE-1030 28650023 |
підшипник шнека CASE-1030 41707800
підшипник шнека CASE-1030 41707800 |
корпус підшипника CASE-1030 41707800
корпус підшипника CASE-1030 41707800 |



Ваш Баннер
(050) 716-28-30
Ваш Баннер
(050) 716-28-30
Ваш Баннер
(050) 716-28-30
Ваш Баннер
(050) 716-28-30
Ваш Баннер
(050) 716-28-30
Ваш Баннер
(050) 716-28-30









